static int btreeCreateTable(Btree *p, int *piTable, int createTabFlags)
流程图如下:

int sqlite3BtreeInsert( BtCursor *pCur, const void *pKey, i64 nKey, const void *pData, int nData, int nZero, int appendBias, int seekResult)
向Btree中插入一个新记录:
流程图如下:

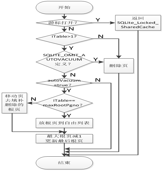
static int btreeDropTable(Btree *p, Pgno iTable, int *piMoved)
流程图如下:
